Flow Regulation Characteristics of Active Flow-Regulating Vanes in U-Shaped Bends

LI Lin, ZHANG Jing-kai, ZHANG Lu-guo, CHI Miao-miao, XIAO Yu-lei

Journal of Changjiang River Scientific Research Institute ›› 2025, Vol. 42 ›› Issue (7) : 112-118.

PDF(15404 KB)
PDF(15404 KB)
Journal of Changjiang River Scientific Research Institute ›› 2025, Vol. 42 ›› Issue (7) : 112-118. DOI: 10.11988/ckyyb.20240262
Hydraulics

Flow Regulation Characteristics of Active Flow-Regulating Vanes in U-Shaped Bends

Author information +
History +

Abstract

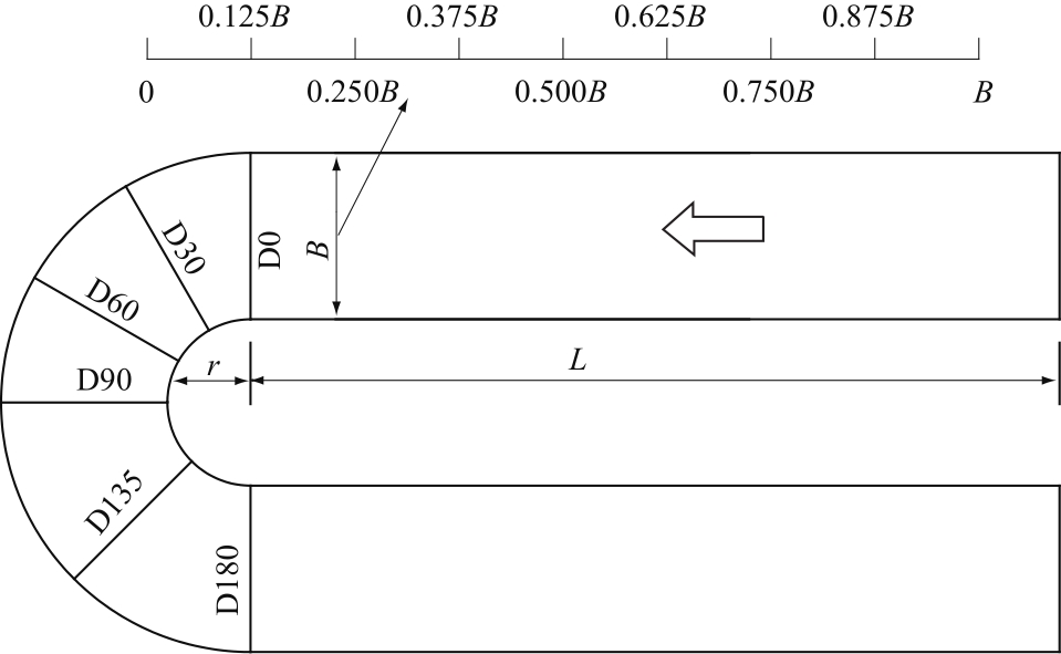
[Objective] To address the issue that conventional river regulation structures struggle to dynamically adapt to the highly variable characteristics of natural rivers, this study develops an innovative active flow-regulating vane system. [Methods] The system combined a vertically adjustable and rotatable vane structure with a remote intelligent control module. It allowed real-time monitoring and dynamic adjustment of flow parameters, thereby overcoming the limitations of traditional fixed structures such as spur dikes and deflector vanes. To investigate its applicability in curved river channels, the flow-regulating vanes were arranged in a 180°U-shaped bend model. The verified RNG k-ε turbulence model and VOF method were used to conduct numerical simulations of the bend’s flow field characteristics before and after the vane installation. The impact of the flow-regulating vanes on the hydrodynamic structure of the bend was analyzed. [Results] 1) Numerical results showed that when the top of the flow-regulating vanes was flush with the free water surface (at a flow rate of 7.9 L/s), the longitudinal velocity near the convex bank region increased by 21.67% compared to the original bend, while the maximum transverse velocity in the central region decreased by 70.33%, effectively weakening the transverse circulation. When the vanes were submerged to 0.3 times the water depth (at a flow rate of 15.8 L/s), the longitudinal velocity still increased by 13.64%, and the transverse velocity decreased by 37.63%. 2) Analysis of the flow field structure revealed that the vanes could split the original single clockwise vortex circulation structure within the bend into two vortices rotating in the same direction, which reduced the flow’s kinetic energy, lowered the circulation velocity, and decreased transverse sediment transport. 3) The distribution of bed shear stress showed that, after the installation of the flow-regulating vanes, the bed shear stress within the bend was uniformly distributed along the convex bank side, which helped alleviate sedimentation on the convex bank while avoiding concentrated scouring. Moreover, the suspended design of the vanes reduced flow obstruction at the bend bottom, solving the sedimentation problem caused by decreased flow velocities around traditional structures fixed to the riverbed, making it a viable option for flow regulation in hardened bend channels.

Key words

active flow-regulating vanes / u-shaped bend / RNG k-ε turbulence model / VOF / hydraulic characteristics / numerical simulation

Cite this article

Download Citations
LI Lin , ZHANG Jing-kai , ZHANG Lu-guo , et al . Flow Regulation Characteristics of Active Flow-Regulating Vanes in U-Shaped Bends[J]. Journal of Changjiang River Scientific Research Institute. 2025, 42(7): 112-118 https://doi.org/10.11988/ckyyb.20240262

References

[1]
周宜林, 道上正规, 桧谷治. 非淹没丁坝附近三维水流运动特性的研究[J]. 水利学报, 2004, 35(8): 46-53.
(ZHOU Yi-lin, MICHIUE Masanori, HINOKIDANI O. Study on Flow Characteristics around the Non-submerged Spur-dikes[J]. Journal of Hydraulic Engineering, 2004, 35(8): 46-53.(in Chinese))
[2]
文岑, 赵世强. 锁坝下游的冲深计算[J]. 水利学报, 2003, 34(7): 70-73.
(WEN Cen, ZHAO Shi-qiang. Calculation of Scouring Depth Downstream of the Closure Dikes[J]. Journal of Hydraulic Engineering, 2003, 34(7): 70-73.(in Chinese))
[3]
ODGAARD A J, KENNEDY J F. River-bend Bank Protection by Submerged Vanes[J]. Journal of Hydraulic Engineering, 1983, 109(8): 1161-1173.
[4]
ODGAARD A J, SPOLJARIC A. Sediment Control by Submerged Vanes.Design Basis[M]//River Meandering.Washington,D.C. American Geophysical Union, 1989:127-151.
[5]
王文野, 王振铎, 杨金良, 等. 导流屏在河流弯道护岸工程中的应用研究[J]. 水利学报, 2000, 31(3): 59-64, 76.
(WANG Wen-ye, WANG Zhen-duo, YANG Jin-liang, et al. Research on Submerged Vanes for Bank Protection in River Bend[J]. Journal of Hydraulic Engineering, 2000, 31(3): 59-64, 76.(in Chinese))
[6]
姚仕明, 金琨. 淹没式导流屏在河流治理中的应用[J]. raybet体育在线 院报, 2001, 18(4):18-21.
Abstract
对淹没式导流屏在河道治理中的作用进行了系统分析,认为通过淹没式导流屏在弯道段凹岸激起的次生流来消除弯道环流或在顺直河段激起的次生流,可促进导流屏区的淤积。因淹没式导流屏加大了导流屏区的阻力,减小底部流速,有利于导流屏区的淤积。并将系统分析与试验及已实施的工程实例进行比较,结果基本一致。
(YAO Shi-ming, JIN Kun. Application of Submerged Guide Vanes in River Regulation[J]. Journal of Yangtze River Scientific Research Institute, 2001, 18(4):18-21.(in Chinese))
The effect of submerged guide vanes in the river regulation is systematically analysed.It is considered that the secondary flow caused by submerged guide vanesin the concave bank of meandering reach can eliminate the circulation flow and in straight reach may promote the sedimentation in the guide vanes region,becausethe submerged guide vanes canincrease the flow resistance and abate the bottomvelocities at the vanes area.The results of systematic analyses are in agreement with the data of experiments and engineering practice.
[7]
陶建福, 李瑞杰. 导流叶片在单向流下的三维水流数值模拟[J]. 海洋湖沼通报, 2009, 31(2): 169-175.
(TAO Jian-fu, LI Rui-jie. Three Dimensional Numerical Models to Simulate Current near Submerged Vane[J]. Transactions of Oceanology and Limnology, 2009, 31(2): 169-175.(in Chinese))
[8]
黄进坤, 石镇源. 底部导流式隔板对泥沙导流特性之试验研究[J]. 泥沙研究, 2001, 26(6):45-50.
(HUANG Jin-kun, SHI Zhen-yuan. The Characteristics of the Sand Motion Trained by Bottom Panel[J]. Journal of Sediment Research, 2001, 26(6): 45-50.(in Chinese))
[9]
PAGLIARA S, SAGVAND HASSANABADI L, MAHMOUDI KURDISTANI S. Log-vane Scour in Clear Water Condition[J]. River Research and Applications, 2015, 31(9): 1176-1182.
[10]
BISWAS P, BARBHUIYA A K. Effect of Submerged Vane on Three Dimensional Flow Dynamics and Bed Morphology in River Bend[J]. River Research and Applications, 2019, 35(3): 301-312.
[11]
新疆农业大学, 新疆宸溪宸羽科技发展有限公司. 一种用于河道整治的主动可变调流系统:中国,202310415853.0[P].2023-09-01.
(Xinjiang Agricultural University, Xinjiang Chenxi Chenyu Technology Development Co., Ltd. An Active Variable Flow Regulation System for River Regulation: China,202310415853.0[P].2023-09-01.(in Chinese))
[12]
冯丽华, 吉庆丰. 三种紊流模型数值模拟明渠弯道三维水流的比较[J]. 灌溉排水学报, 2008, 27(6):55-57.
(FENG Li-hua, JI Qing-feng. Numerical Simulation for Flow in Channel Bend Using Different Turbulence Models[J]. Journal of Irrigation and Drainage, 2008, 27(6): 55-57.(in Chinese))
[13]
SHUKRY A. Flow around Bends in an Open Flume[J]. Transactions of the American Society of Civil Engineers, 1950, 115(1): 751-778.
[14]
孙东坡, 朱岐武, 张耀先, 等. 弯道环流流速与泥沙横向输移研究[J]. 水科学进展, 2006, 17(1): 61-66.
(SUN Dong-po, ZHU Qi-wu, ZHANG Yao-xian, et al. Study of Circulating Velocity Profile and Lateral Sediment Transport in Curved Channels[J]. Advances in Water Science, 2006, 17(1): 61-66.(in Chinese))
PDF(15404 KB)

Accesses

Citation

Detail

Sections
Recommended

/

Baidu
map